蘋果自動駕駛技術新專利:多個傳感器做最佳決策

時間:2020-06-03

來源:中國無人駕駛網

0

導語:據悉,近日美國專利商標局授予蘋果一項名為 “跨傳感器處理管道共享傳感器數據 ”的專利,其中蘋果公司提出在自動駕駛汽車系統內的多個過程中,可以對收集到的數據進行更多的協作。

據悉,近日美國專利商標局授予蘋果一項名為 “跨傳感器處理管道共享傳感器數據 ”的專利,其中蘋果公司提出在自動駕駛汽車系統內的多個過程中,可以對收集到的數據進行更多的協作。

蘋果自動駕駛技術新專利:多個傳感器做最佳決策
蘋果自動駕駛技術新專利:多個傳感器做最佳決策

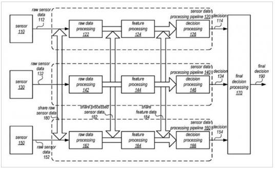
一個典型的傳感器數據處理管道,就是將傳感器收集到的數據提供給專門的處理系統,然后由該系統判斷情況和相關的行動方案,再發送給其他系統。

來自傳感器的數據將只限于一條管道,不會受到其他系統的實際影響,但蘋果提出基于多個傳感器數據的融合,做出融合感知決策。

蘋果公司還提出,這些數據可以更加細化,在每個管道的不同階段做出決策并融合在一起。這些數據,可以在管道之間共享,并且可以影響其他流程。

這些數據可以包括原始的傳感器數據、經過處理的傳感器數據,甚至是由傳感器數據衍生的數據。

通過提供更多的數據點,控制系統在創建行動方案時將有更多的信息可供使用,可能會做出更明智的決策。

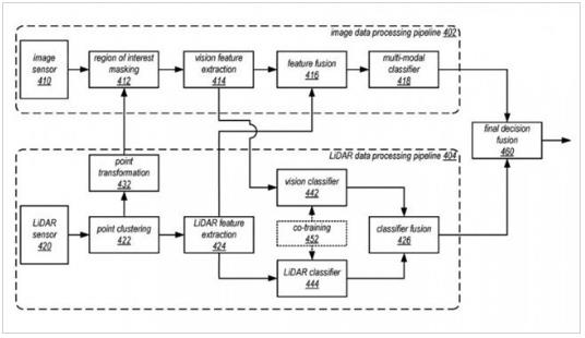
蘋果公司提到了這些管道可以用于連接不同類型的數據,例如第一條管道是用于圖像傳感器數據,而第二條管道使用LiDAR的數據。

將這些數據結合在一起,可以進行通常情況下僅靠一組數據不可能實現的判斷,例如LiDAR數據可以確定距離和深度,但它不能看到顏色,這在試圖識別道路上的物體時可能很重要,而它可從圖像傳感器數據處理管道中獲取顏色數據。

蘋果公司每周都會提交大量的專利申請,雖這些專利申請并不能保證蘋果公司正在開發特定的功能或產品,但卻表現了蘋果在相關領域進行不斷的努力和研究。

低速無人駕駛產業綜合服務平臺版權與免責聲明:

凡本網注明[來源:低速無人駕駛產業綜合服務平臺]的所有文字、圖片、音視和視頻文件,版權均為低速無人駕駛產業綜合服務平臺獨家所有。如需轉載請與0755-85260609聯系。任何媒體、網站或個人轉載使用時須注明來源“低速無人駕駛產業綜合服務平臺”,違反者本網將追究其法律責任。

本網轉載并注明其他來源的稿件,均來自互聯網或業內投稿人士,版權屬于原版權人。轉載請保留稿件來源及作者,禁止擅自篡改,違者自負版權法律責任。

如涉及作品內容、版權等問題,請在作品發表之日起一周內與本網聯系,否則視為放棄相關權利。

關注低速無人駕駛產業聯盟公眾號獲取更多資訊

最新新聞