
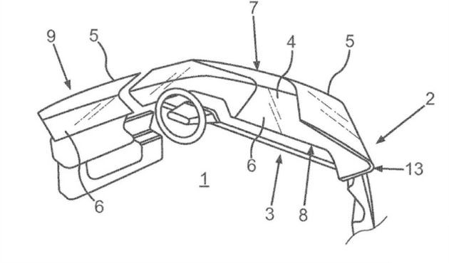
從專利圖可以看出,奧迪全新的車內顯示系統采用環抱式設計,顯示系統與車窗玻璃連接,融合在一起,可將相關圖像或信息投射在前擋風玻璃上,使駕駛員視野集中在前方,保障駕駛安全。此外,側窗玻璃也可以顯示相關內容,整體科技感十足。而這種功能的實現,就要借助奧迪正在開發的車內投影儀。
車內投影儀專利圖據悉,這款車內投影儀是為具備完全自動駕駛能力的車輛設計的。當開啟自動駕駛,利用該投影儀進行娛樂活動,減輕駕駛員負擔,提供全新的視覺體驗。
或為完全自動駕駛車輛專屬 奧迪申請環抱車廂專利
時間:2020-06-08
來源:新浪汽車
導語:近日,我們從相關媒體獲悉,奧迪已經在國家知識產權局申請了新一代車廂設計的專利,該專利涉及奧迪開發的車內投影儀。

從專利圖可以看出,奧迪全新的車內顯示系統采用環抱式設計,顯示系統與車窗玻璃連接,融合在一起,可將相關圖像或信息投射在前擋風玻璃上,使駕駛員視野集中在前方,保障駕駛安全。此外,側窗玻璃也可以顯示相關內容,整體科技感十足。而這種功能的實現,就要借助奧迪正在開發的車內投影儀。
車內投影儀專利圖據悉,這款車內投影儀是為具備完全自動駕駛能力的車輛設計的。當開啟自動駕駛,利用該投影儀進行娛樂活動,減輕駕駛員負擔,提供全新的視覺體驗。
凡本網注明[來源:低速無人駕駛產業綜合服務平臺]的所有文字、圖片、音視和視頻文件,版權均為低速無人駕駛產業綜合服務平臺獨家所有。如需轉載請與0755-85260609聯系。任何媒體、網站或個人轉載使用時須注明來源“低速無人駕駛產業綜合服務平臺”,違反者本網將追究其法律責任。
本網轉載并注明其他來源的稿件,均來自互聯網或業內投稿人士,版權屬于原版權人。轉載請保留稿件來源及作者,禁止擅自篡改,違者自負版權法律責任。
如涉及作品內容、版權等問題,請在作品發表之日起一周內與本網聯系,否則視為放棄相關權利。
關注低速無人駕駛產業聯盟公眾號獲取更多資訊

海外單礦50臺以上無人駕駛礦卡運營項目一覽
海外實現單礦50臺以上無人礦車規?;\營的礦區屈指可數,但在中國,單礦500臺無人礦車正成為新的競爭門檻。

鍛造“工業之眼”與“智能之腦”:天準科技以硬核AI助力制造未來
當人工智能的滾滾浪潮從虛擬世界涌向實體經濟,一場深刻的技術變革正在全球工業領域悄然發生。在這股洪流之中,中國作為全球...

超70項、11億元!10月無人駕駛領域中標項目一覽
各場景的“超級大單”都被誰拿了?

賽特智能白云新總部啟用,深耕無人駕駛領域開啟發展新篇
11月7日,“深耕八載,智領新章”賽特智能新總部啟用暨成立8周年慶典儀式在廣州白云區民營科技園盛大舉行。

天準科技二十周年峰會隆重舉行:感恩同行二十載,智創工業新未來
二十年砥礪前行,初心不改;新征程波瀾壯闊,信心滿懷。11月8日,天準科技成立二十周年峰會在蘇州隆重舉行。

48小時改寫Robotaxi版圖:小鵬高調入場,小馬、文遠同日港股IPO
Robotaxi正在成為下一代智慧出行最核心戰場。

金屬礦再添里程碑!伯鐳聯合中冶北方助力鞍鋼開創采空區治理新路徑
該項目首次在國內金屬礦山領域實現了除穿爆工序外的全流程智能化閉環作業,開創了國內采空區治理領域"少人化、無人化"作業新...

近百億!10月無人駕駛領域融資一覽
今年1-10月份行業融資已達540億。

三赴進博!西井科技以“智·能”內核重構全球智慧物流新格局
如今,西井科技業務已落地全球28個國家和地區,服務全球超200家客戶,更在全球范圍內實現近千輛無人駕駛車輛運營,構建起貫通...

又一自動駕駛企業斬獲超1500臺無人觀光車大單
自動駕駛賽場下半場的哨聲已經吹響。
鍛造“工業之眼”與“智能之腦”:天準科技以硬核AI助力制造未來
![]()
2025-11-12
超70項、11億元!10月無人駕駛領域中標項目一覽
![]()
2025-11-12
賽特智能白云新總部啟用,深耕無人駕駛領域開啟發展新篇
![]()
2025-11-12
天準科技二十周年峰會隆重舉行:感恩同行二十載,智創工業新未來
![]()
2025-11-11
48小時改寫Robotaxi版圖:小鵬高調入場,小馬、文遠同日港股IPO
![]()
2025-11-07
金屬礦再添里程碑!伯鐳聯合中冶北方助力鞍鋼開創采空區治理新路徑
![]()
2025-11-06
近百億!10月無人駕駛領域融資一覽
![]()
2025-11-06
三赴進博!西井科技以“智·能”內核重構全球智慧物流新格局
![]()
2025-11-05