特斯拉申請自動駕駛技術專利 讓定位更精準

時間:2018-12-10

來源:騰訊科技

0

導語:北京時間12月10日消息,據國外媒體報道,隨著自動駕駛汽車的推廣普及,GPS的準確性變得越來越重要。根據一份最新的專利申請文件文件,特斯拉研發出一項新技術,其通過車輛彼此之間共享數據以使得GPS定位變得更加準確。

北京時間12月10日消息,據國外媒體報道,隨著自動駕駛汽車的推廣普及,GPS的準確性變得越來越重要。根據一份最新的專利申請文件文件,特斯拉研發出一項新技術,其通過車輛彼此之間共享數據以使得GPS定位變得更加準確。

特斯拉申請自動駕駛技術專利 讓定位更精準

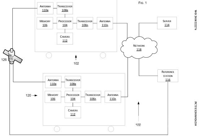
特斯拉最近一項專利申請名為《車輛定位技術》,其在去年就向相關部門提出專利申請。不過該項專利申請在上周得以公布于世。

在申請材料中,特斯拉描述了GPS定位準確性所必要的問題。“舉個例子,一部安裝定位接收器的智能手機或許可以對周圍五米半徑內的事物進行定位。然而當定位接收器接近建筑物、橋梁、樹林或其他結構物時,定位準確性將有所降低。即使是準確性降低后的定位功能也能滿足一定的使用需要,但對另一些應用場景來說,其需要更加準確的定位能力,其中就包括自動駕駛。鑒于上述原因,有必要推出準確性更高的定位技術,這種技術可以抵御對從導航衛星所接收的信號所產生的干擾。”

特斯拉在專利申請中還給出了多種解決方案,包括利用攝像頭檢測并匹配位置信息、利用其它編組車輛作為“合作參考站點”以共享原始全球衛星導航系統(GNSS)數據并進行定位修正。

特斯拉在專利申請文件中這樣描述他們的技術:“這種技術可以抵御對從導航衛星所接收的信號所產生的干擾并由此提升定位準確性。其可以通過使用不同算法以多種形式的測定和應用修正來提升定位準確性,或者在不同設備(其中至少要有一臺設備能夠準確了解位置信息)之間共享原始定位數據。這種技術包括:(1)同車輛可共享位置補償的參考站(2)針對多種誤差元素(包括大氣、軌道和時鐘等)進行一系列參數(補償/修正)計算和共享的參考站(3)與其他各方共享原始GNSS數據的參考站,其將幫助車輛通過差異化或者其他計算方法消除誤差。”

如果無法在車輛之間實現數據共享,特斯拉還找到了另外一種通過使用其他傳感器來修正GPS數據的辦法。

特斯拉將攝像頭數據和可視地圖進行匹配以測定車輛的詳細位置,其將這一過程描述如下:“攝像頭可以檢測到一條車道的幾何邊界,其可以被應用于可視地圖中以匹配定位數據。車輛的定位預測數據是多樣化的,當車輛攝像頭獲得的車道幾何邊界數據同地圖中的對應數據匹配一致時,車輛的定位工作也就完成了。”

特斯拉申請自動駕駛技術專利 讓定位更精準

該解決方案有助于特斯拉汽車在GPS信號弱于常規水平的環境下獲得更精準的定位數據。

更準確的定位系統尤其有利于無人駕駛功能的實現。特斯拉已經明確表示,一旦其將上述專利權的所有發明者全部招至Autopilot團隊之后,特斯拉Autopilot系統將開始使用專利權中的技術。

低速無人駕駛產業綜合服務平臺版權與免責聲明:

凡本網注明[來源:低速無人駕駛產業綜合服務平臺]的所有文字、圖片、音視和視頻文件,版權均為低速無人駕駛產業綜合服務平臺獨家所有。如需轉載請與0755-85260609聯系。任何媒體、網站或個人轉載使用時須注明來源“低速無人駕駛產業綜合服務平臺”,違反者本網將追究其法律責任。

本網轉載并注明其他來源的稿件,均來自互聯網或業內投稿人士,版權屬于原版權人。轉載請保留稿件來源及作者,禁止擅自篡改,違者自負版權法律責任。

如涉及作品內容、版權等問題,請在作品發表之日起一周內與本網聯系,否則視為放棄相關權利。

關注低速無人駕駛產業聯盟公眾號獲取更多資訊

最新新聞