特斯拉發布自動駕駛新專利 優化布線系統框

時間:2019-08-22

來源:無人駕駛網

0

導語:近日有海外媒體報道稱,特斯拉申請了一份新專利,該專利名為“高速布線系統結構框架”,它主要涉及汽車全自動駕駛領域。據悉,傳統計算機布線系統在通信中不會涉及冗余,這導致每個連接到中心處理器的設備中有一個連接失敗就會造成通信失敗。如果車輛處于自動駕駛狀態下,發生該問題將危及車內人員安全。

   近日有海外媒體報道稱,特斯拉申請了一份新專利,該專利名為“高速布線系統結構框架”,它主要涉及汽車全自動駕駛領域。據悉,傳統計算機布線系統在通信中不會涉及冗余,這導致每個連接到中心處理器的設備中有一個連接失敗就會造成通信失敗。如果車輛處于自動駕駛狀態下,發生該問題將危及車內人員安全。

 

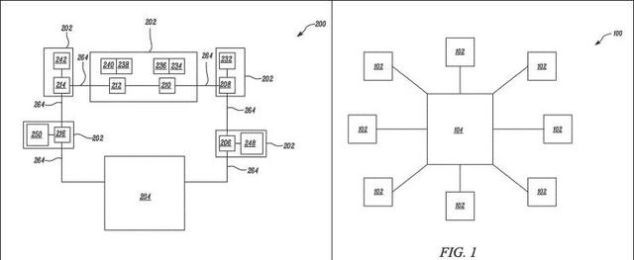
  從特斯拉公布的專利圖可以看出,布線系統結構包括雙向主干電線布局,新車往返處理器的環路,同時主干網可以作為兩個獨立環路運行,這意味著主干網一部分發生故障后,所有設備的數據仍然可以發送到處理器和從處理器上發出。

  設備內的每個集線器還通過主干串聯或并聯連接到其他集線器,如果設備中的一個集線器發生故障,其他集線器仍然可以傳輸到主干網,從而傳輸到處理器。除此之外,這種新架構相對于傳統系統的優點還在于,采用了較少的電線進行連接。

  

 

  特斯拉指出,這項專利可用于多種車輛,包括卡車,這表明特斯拉可能打算將該架構用作未來所有FSD的標準設置。此外,通過拓展架構,這個系統還可能在農業、航海和其他工業中應用。

低速無人駕駛產業綜合服務平臺版權與免責聲明:

凡本網注明[來源:低速無人駕駛產業綜合服務平臺]的所有文字、圖片、音視和視頻文件,版權均為低速無人駕駛產業綜合服務平臺獨家所有。如需轉載請與0755-85260609聯系。任何媒體、網站或個人轉載使用時須注明來源“低速無人駕駛產業綜合服務平臺”,違反者本網將追究其法律責任。

本網轉載并注明其他來源的稿件,均來自互聯網或業內投稿人士,版權屬于原版權人。轉載請保留稿件來源及作者,禁止擅自篡改,違者自負版權法律責任。

如涉及作品內容、版權等問題,請在作品發表之日起一周內與本網聯系,否則視為放棄相關權利。

關注低速無人駕駛產業聯盟公眾號獲取更多資訊

最新新聞